電動升降,前進后退電動行走,駕駛人員步行手把操作
| KLD10D型\15D型步行式電動托盤堆垛車 | ||||
| Model(型號) | KLD10D | KLD15D | ||
| 特性 | 驅動Driver | 電動 | 電動 | |
| 操縱形式Operatortype | 步行式 | 步行式 | ||
| 負載能力Loadcapacity/ratedload | kg | 1000 | 1500 | |
| 載荷中心距Loadcenter | mm | 600 | 600 | |
| 軸距Wheelbase | mm | 1460 | 1460 | |
| 總重(含電池)Serviceweightincludingbattery | kg | 680 | 780 | |
| 輪系 | 車輪Drive/castor/forkwheel | 聚氨酯 | 聚氨酯 | |
| 承載輪尺寸Wheelsize,front | mm | Φ85x70 | Φ85x70 | |
| 驅動輪尺寸Wheelsize,driver | mm | Φ250x80 | Φ250x80 | |
| 附輪尺寸Additionalwheels(dimensions) | mm | Φ130x55 | Φ130x55 | |
| 前/后輪數量(x=驅動輪)Wheels,numberfront/rear(x=drivenwheels) | 1x+2/1 | 1x+2/1 | ||
| 前輪距Trackwidth,front | mm | 510 | 510 | |
| 后輪距Trackwidth,rear | mm | 490 | 490 | |
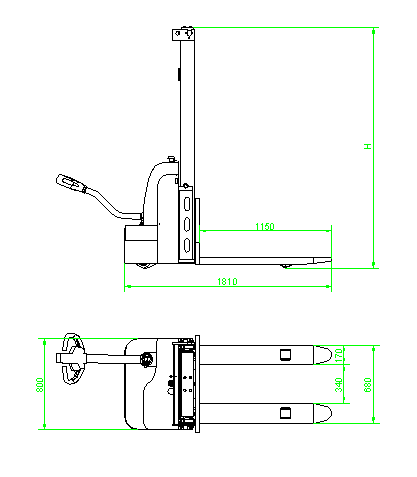
| 尺寸 | 全長Overalllength | mm | 1800 | 1800 |
| 總寬Overallwidth | mm | 850 | 850 | |
| 貨叉起升高度Forkheight | mm | 1600/2500/3000 | ||
| 作業時門架最大高度Maxheight | mm | 2165/3010/3510 | ||
| 門架縮回時最低高度Minheight | mm | 2120/1835/2085 | ||
| 操縱手柄高度(最大/最小)Heightoftillerindriveposition | mm | 1480/730 | 1480/730 | |
| 貨叉尺寸厚度/寬度/長度Forkdimensions | s/e/lmm | 65/170/1150 | 65/170/1150 | |
| 貨叉外邊距Widthoverforks | mm | 680 | 680 | |
| 最小轉彎半徑Minimumturingradius | mm | 1430 | 1430 | |
| 最小離地間隙GroundClearance | mm | 29 | 29 | |
| 最小轉彎通道寬度理論值Minintersectingaislewidth | mm | 2140 | 2140 | |
| 速度 | (負載/無負載)行駛速度Travelspeed,with/withoutload | km/h | 42129 | 42129 |
| (負載/無負載)起升速度Liftspeed,with/withoutload | mm/s | 135/140 | 135/140 | |
| (負載/無負載)下降速度Liftspeed,with/withoutload | mm/s | 155/150 | 155/150 | |
| 動力 | (負載/無負載)最大爬坡能力Max.gradeability,with/withoutload | % | 5\7 | 5\7 |
| 行車制動Servicebrake | 電磁制動 | 電磁制動 | ||
| 行走電機功率Drivermotor | kW | 0.75/DC | 1.2/DC | |
| 起升電機功率LiftmotorratingatS315% | kW | 2.2/DC | 2.2/DC | |
| 電池容量Batteryvoltage/nominalcapacityK5 | V/Ah | 24/100 | 24/100 | |
| 電池重量Batteryweight | kg | 60 | 60 | |
| 控制方式 | 控制器型號Typeofdrivecontrol | 科蒂斯 | CURTIS | CURTIS |